Apr 13, 2024
كيفية صنع مصدر طاقة 12 فولت بدون محول إذا لم يكن لديك محول، يمكنك محاولة صنع مصدر طاقة 12-فولت تيار مستمر باستخدام الطرق التالية: 1. دائرة خفض جهد الم
تفاصيل
Apr 12, 2024
لتوصيل محول جرس الباب بمصدر الطاقة، اتبع ما يلي: 1. قم بتوصيل طرفي محول جرس الباب بسلكي النار الخاصين بمصدر طاقة التيار المتردد بجهد 220 فولت، والذي ي
تفاصيل
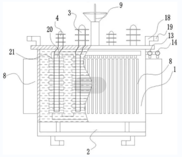
Apr 11, 2024
كيفية حساب قوة المحولات؟ صيغة حساب قدرة المحول هي: قدرة المحول=جهد الخرج × تيار الخرج. إذا كان للمحول مخرجات متعددة، فيجب إضافة طاقة كل مخرج. وبالإضاف
تفاصيل
Apr 10, 2024
ما مقدار الطاقة التي يستهلكها المحول؟ يعتمد مبدأ عمل المحول على مبدأ الحث الكهرومغناطيسي. يتكون بشكل أساسي من ملف أولي وملف ثانوي ونواة حديدية (قلب مغ
تفاصيل
Apr 09, 2024
ما مقدار الطاقة التي يستهلكها المحول؟ يعتمد استهلاك الطاقة للمحول على نوعه وقدرته وظروف التشغيل. يتكون استهلاك طاقة المحولات بشكل أساسي من جزأين: فقدا
تفاصيل
Apr 08, 2024
ما مقدار الطاقة التي يستخدمها محول 110 فولت؟ يعتمد استهلاك الطاقة للمحول بشكل أساسي على نوعه وقدرته والبيئة التي يستخدم فيها. استهلاك الطاقة لمحول 110
تفاصيل
Apr 07, 2024
كم تكلفة محول عمود الكهرباء؟ **تحليل تكلفة المحولات المثبتة على الموقع*** I. مقدمة باعتبارها جزءًا مهمًا من نظام الطاقة، فإن تكوين تكلفة المحولات المث
تفاصيل
Apr 06, 2024
كم عدد المنازل التي يمكن للمحول أن يزودها بالطاقة؟ يعتمد عدد المنازل التي يمكن تزويدها بالطاقة بواسطة محول واحد على عدد من العوامل، بما في ذلك قدرة ال
تفاصيل
Apr 05, 2024
كم من الوقت يستغرق استبدال محول الطاقة؟ يعتمد الوقت المستغرق لاستبدال محول الطاقة على عدد من العوامل، مثل نوع المحول وحجم قدرته وتوافر قطع الغيار في ا
تفاصيل
Apr 04, 2024
كيف تعمل محولات الطاقة؟ محول الطاقة هو جهاز يستخدم مبدأ الحث الكهرومغناطيسي لتغيير جهد التيار المتردد ونقل الطاقة الكهربائية. مكوناته الرئيسية تشمل ال
تفاصيل
Apr 03, 2024
هل يزيد المحول الطاقة؟ المحول هو جهاز كهربائي يستخدم بشكل أساسي لتغيير جهد التيار المتردد. ويستند مبدأ عملها على الحث الكهرومغناطيسي، حيث يتم تحويل ال
تفاصيل
Apr 02, 2024
هل يستهلك المحول الطاقة عندما لا يكون قيد الاستخدام؟ الجواب على سؤال ما إذا كان المحول يستهلك الكهرباء في حالة عدم استخدامه يعتمد على نوع المحول وجودت
تفاصيل
